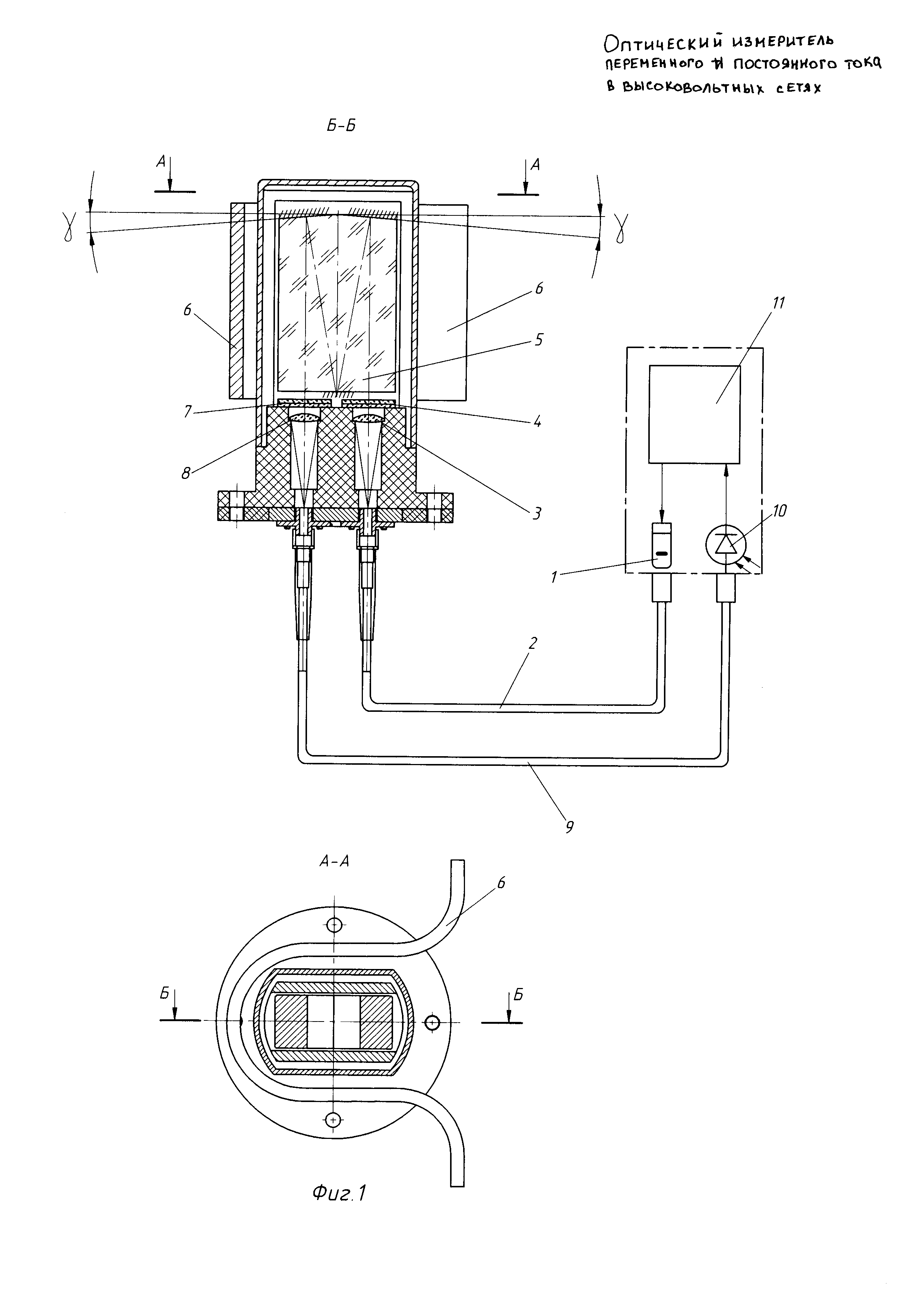
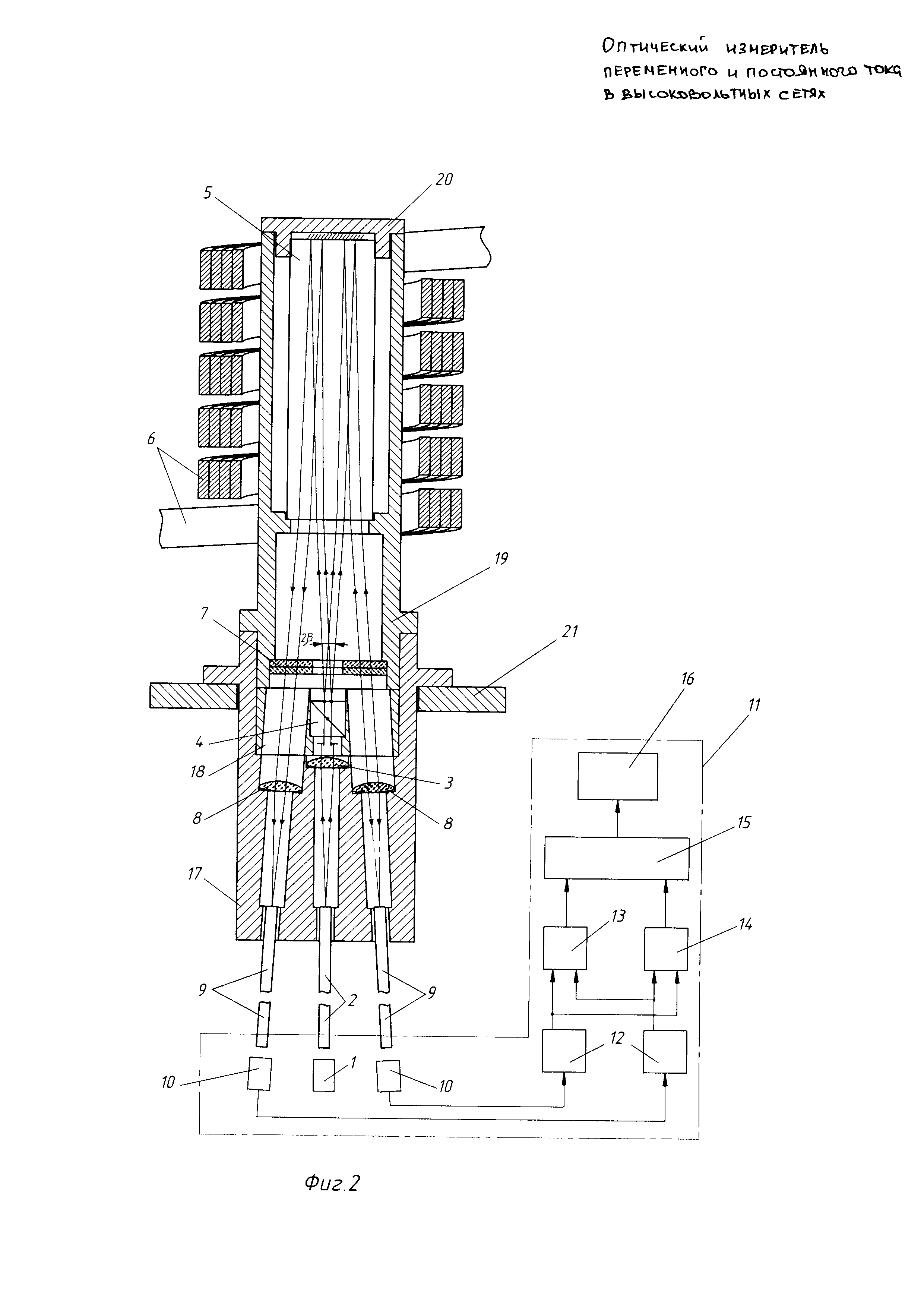
Благодаря наличию призмы Волластона устройство может измерять переменный и постоянный ток.
Новый оптико-электронный измеритель предназначен для использования в высоковольтных сетях различных классов на цифровых подстанциях и других электроустановках. Разработка основана на эффекте Фарадея. Отличительная особенность изобретения — использование в качестве первого поляризатора призмы Волластона, применение которой позволяет измерять как переменный, так и постоянный ток. Основными заказчиками продукции станут предприятия электроэнергетического комплекса России. Ожидается, что ее появление на российском рынке составит серьезную конкуренцию уже существующим устройствам. Авторами проекта являются специалисты компании «Швабе — Технологическая лаборатория», входящей в состав холдинга.
Оптический измеритель переменного и постоянного тока / edrid.ru
Подробно принцип действия устройства и схема его работы описываются в патенте РФ № 2663545, приведем небольшую выдержку из его аннотации: «Предлагаемое устройство содержит источник света, многомодовое оптическое волокно, ячейку Фарадея, второе многомодовое волокно, фотоприемник, электронный блок с индикатором результатов измерений. Для измерения переменного и постоянного тока первый поляризатор ячейки Фарадея выполнен в виде призмы Волластона, второй поляризатор выполнен в виде кольца из поляроидной пленки. Выходящие из призмы Волластона лучи проходят через внутреннее отверстие второго поляризатора. Активный элемент ячейки Фарадея выполнен в виде цилиндра из оптического стекла с полированными основаниями. На одном из оснований нанесено зеркальное покрытие. Дважды прошедшие через цилиндр пучки поляризованного света проходят второй поляризатор, плоскость пропускания которого находится под углом ±45° по отношению к плоскостям пропускания первого поляризатора. После второго поляризатора в разделенных призмой Волластона двух пучках установлены две собирающие свет линзы, два многомодовых оптических волокна, два фотоприемника, а также два линейных усилителя сигналов фотоприемников. Как вариант исполнения фрагмент проводника высоковольтной линии состоит из набора соединенных параллельно отдельных проводников, выполнен в виде соленоида, который охватывает цилиндр ячейки Фарадея и содержит n витков, где 1≤n≤6».
Федор БроунГенеральный директор «Швабе — Технологическая лаборатория»

Предлагаемый оптический измеритель пожаро- и взрывобезопасен, а также универсален как по роду тока, так и по классу напряжения. Еще одним преимуществом является его цена, которая существенно ниже других приборов измерения.

Оптический измеритель переменного и постоянного тока / edrid.ru
В настоящее время для измерения переменного тока в высоковольтных сетях используются традиционные электромагнитные трансформаторы или сложные и дорогостоящие оптические измерители. В «Швабе» считают, что их разработка имеет ряд преимуществ: в отличие от традиционных трансформаторов тока устройство не имеет пожаровзрывоопасных изоляционных материалов (трансформаторное масло, элегаз) и трансформаторного железа, а также обладает малыми габаритами и весом. При этом, как пояснили ЦПС в компании, в отличие от волоконно-оптических трансформаторов тока других фирм предлагаемый измеритель не содержит сложных элементов, таких как, например, одномодовое волокно, сохраняющее поляризацию, и особые модуляторы, поэтому он будет дешевле. В настоящее время предприятие проводит испытания опытного образца измерителя переменного тока трехфазной сети среднего класса (до 35 кВ). Вопрос пилотного применения находится в проработке. Холдинг «Швабе» входит в состав радиоэлектронного комплекса госкорпорации «Ростех», который участвует в создании новой цифровой подстанции в России. Разработанное устройство может стать одной из составляющих этого крупного проекта. [shvabe.com, пресс-служба «Швабе»]